
地址:江西省九江市濂溪区滨江东路与洪垅路交汇处
电话:0792-8352828
0792-8352066
传真:0792-8352666
邮件:jjyixin@jjyixin.cn
网址:www.jx-yixin.com
喷涂设备
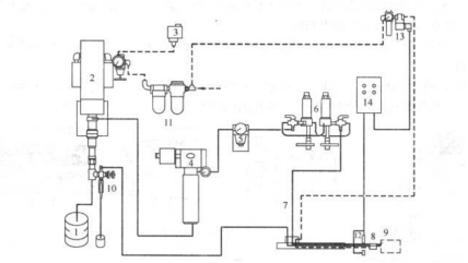
无空气喷涂系统,大部分厂家所用内焊缝液体补涂设备,一般由美国NORDSON公司发明的系统再改进后制成,主要部件由气压涂料泵(气压液压比1:16),过滤器、涂料加热器、涂料液压调压阀、喷枪、喷嘴及循环阀组组成一个闭合循环回路,并由电器控制系统控制涂料加热器温度和喷嘴的喷涂开关时间。此补涂过程是将液体涂料通过一个特殊喷嘴,将涂料雾化喷出,喷到焊缝上,可通过调整喷嘴孔的大小,涂料的黏度,涂料温度,喷涂压力,稀释剂等,来达到良好的补涂效果,喷嘴分有空气雾化和无空气雾化。无空气喷涂原理见图3-73。涂料黏度,要根据涂料厂商提供的数据或实验效果来配制。黏度的测量,一般用DIN4号黏度杯(体积100mL,4mm的孔,环境温度20℃),计算液体涂料流完的时间来计算涂料的相对黏度。其优点是调整方便,覆盖效果好,特别是配高速焊机,通过选择不同的喷嘴,可适应大部分涂料。缺点是在应用有些涂料时,喷嘴的小孔易堵,所以要有良好的过滤器。喷涂过程见图3-74,喷涂处过喷抽风系统见图3-75。
涂料泵将涂料吸进管路(见图3-76)后,压力可增加到2~4MPa。
喷涂系统主要部件如下:
①液体涂料增压泵:用气压带动活塞气缸上下冲程运动,以16:1的比率将液体涂料增压到要求的压力,一般在2~4MPa,根据补涂宽度,由所选喷嘴,液体涂料的黏度,涂料温度决定。

图3-73NORDSON无空气喷涂管路原理图
1一涂料桶2一涂料泵3一压力开关4一加热器5一稳压器6一过滤器7一涂料管8一喷枪
9一喷嘴10一回流开关11一油水分离器12一传感器13一电磁阀14一计时器

图3-74喷涂过程,抽过喷涂料的装置

图3-75喷涂处过喷抽风系统

图3-76喷涂涂料管路系统

图3-77喷涂涂料加热器
A一温度表B一加热
②涂料加热器(见图3-77):稀释液体涂料黏度,使涂料喷出后,固体含量增加,增加溶剂的挥发速度,减少涂料的表面张力,提高涂料层的附着力。所以,液体涂料管路系统通常都是循环阀组组成闭合回路,使涂料在管路中总是连续不停地流过加热器,以达到液体涂料的温度在管路中总是保持相同,从而涂料在管路中黏度相同。
③涂料压力调节器(见图3-78):因涂料泵为冲程原理,压力为脉动,所以为稳定涂料液体压力,要用此阀。
④喷涂所用喷枪如图3-79和图3-80所示,其原理为内部有一气缸与涂料阀门连接,在气压和弹簧的控制下,可快速打开,使液体涂料快速地流向喷嘴并喷出。并可快速关断。

图3-78涂料压力稳压调节器
A一进口E一弹簧F一活塞
H一压片G一单向阀I一出口

图3-79A9A喷枪,用于低速焊机

图3-80A16A喷枪,用于高速焊机
特别值得说明的是,无空气喷涂喷嘴(见图3-81),工作时,它装在喷枪上。它的头部,由硬质合金材料制成,经特殊加工方式制成的特殊形状的小孔,使液体涂料经过喷嘴的特殊的孔,在高压下形成扇形雾化,此喷嘴被制成多种样式和不同的孔径,以适应不同的涂料。它的小孔形状有三种形式:

图3-81无空气喷涂 的专用喷嘴
①标准型(S-standard)。此喷嘴孔带有“猫眼形”小孔,此喷嘴喷出的涂料带有雾化扇形,但有些过喷,仅适合某些液体涂料。
②十字交叉型(X-cross-cuts)。此喷嘴带有一方形孔,此喷嘴喷出的涂料雾化扇形清晰,对各种涂料有较高的适应性,涂层具有更均匀的分布。对有些涂料此喷嘴的补涂效果好于标准型喷嘴,但对有些特殊的涂料效果相同。
③流涂型(F-FLOW-COATING):此喷嘴补涂效果最好,喷涂应用时,清洁干净,过喷少,覆盖效果好,可用高黏度涂料。它既适合传统涂料,也适合一些专用液体涂料。
当喷嘴在长时间的应用后,会磨损,但不同的喷嘴,不同的涂料效果不同。标准型喷嘴磨损后,流速增加,扇形变窄。十字交叉型喷嘴磨损后则不同,流速增加,但扇形变宽。可自我修正。
在选择喷嘴型号时,要根据所用不同的液体涂料,通过试验结果确定,或根据液体涂料的供应商来提供型号。
另外,在喷涂涂料系统中,当每次换不同的涂料时,要清洗管路,阅读有关涂料的说明,用适当的稀释剂,避免不同的液体涂料反应产生不同的或错误的稀释剂,产生不良的效果。给调试和最终的补涂效果带来不良的效果。